So liebe 4x4 Leidensgenossen,
jetzt mal ein paar Detailinfos zum Thema Scheibenbremse. Ich habe mich gestern mal hingesetzt und anhand einer neuen Bremsscheibe mal die Maße abgenommen, um diee Diskussion über alternativen voranzutreiben:

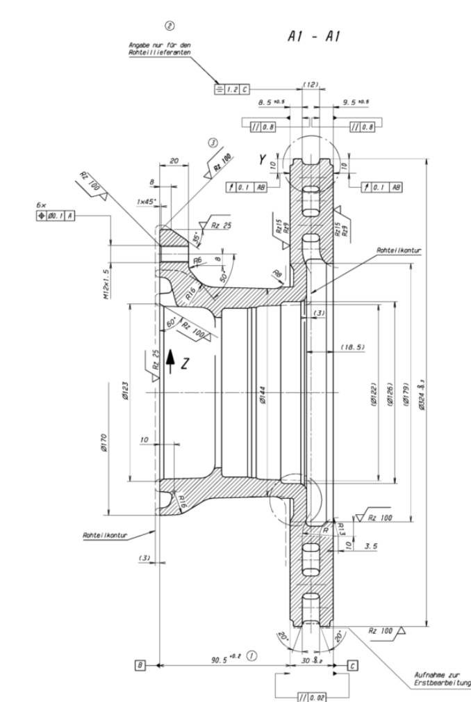
- VW Lt 4x4 Bremsscheibe Teile-Nr.: 291 615 301 A
- Bremsscheibe VW LT 4x4.jpg (141.92 KiB) 21305-mal betrachtet
Die Maße sind auf zehntel genau und wurden von einer fabrikneuen Scheibe abgenommen, die ich mir vor einiger Zeit schon besorgt hatte. Ich denke für einen Modellbauer keine wirklich Herausforderung und für eine Gießerei trivial.
Die Idee eine Mercedes-Vario Bremse zu adaptieren habe ich geprüft und wieder verworfen. Anhand der nachstehenden Zeichnung ist ersichtlich, das obwohl der Außendurchmesser mit 324 mm nahezu identisch ist, die weitere Geometrie sehr stark abweicht und wegen der Scheibendicke (Inneblüftung) auch der Bremssattel des Vario (teuer und meines Wiessens Druckluftbremse !!!) übernommen werden müsste.

- Mercedes Vario Bremsscheibe Teile-Nr.: A 668 423 04 12
- Bremsscheibe Vario.jpg (151.87 KiB) 21289-mal betrachtet
Fazit: Ich würde empfehlen die Bremsscheibe in Kleinserie aufzulegen. Dazu folgende Tips:
1. würde sich jemand mit Gußmodellbauerfahrung bereiterklären das Model herzustellen und zur Verfügung zu stellen würde es mit sicherheit deutlich biliger.
2. Die Vario-Bremsscheibe besteht aus folgendem Werkstoff: GG-20 Cr HC, also einem Grauguß mit ein paar Verschleißzusätzen, auf die man ggf. auch verzichten könnte.
3. Die Vario-Bremsscheibe ist von der Fa. Winter (keine weitere Info), vielleicht kennt die ja jemand und kann mal Kontakt aufnehmen.
4. Das adaptieren anderer Bremsscheiben (z. B. Vario) ist nicht möglich. "Umschweißen" scheidet wegen dem Gußwerkstoff auch aus.
Damit bin ich mit meinem Latein am Ende. Jetzt hilft nur noch die "LT 4x4 Gemeinsschaft", die dann mit vereinten Kräften eine Kleinserie stemmen kann.
In den nächsten Tagen werden ich an meine eingebauten Bremsscheiben die Stärke messen, die original 76 tkm runterhaben. Damit läßt sich dann mal eine Aussage treffen, wie lange die zu erwartende Laufleistung bis zur Verschließgrenze in etwa ist.
Für weitere Fragen stehe ich gerne zur Verfügung.
Gruß aus dem Nordschwarzwald
Oliver
LT 4x4 - Für alle Fälle Allrad ...